LTC2686數模轉換器(DAC)
2024-08-28 09:34:49
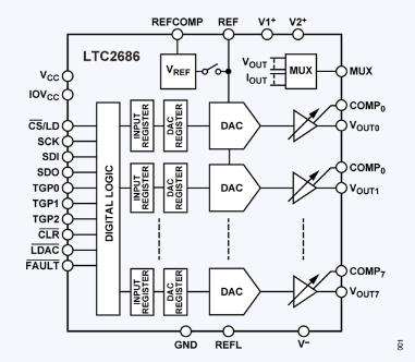
LTC2686不是款集成為精密鑄造依據價電流值直流電流值源的8短信通道、16四位數模轉變器(DAC),應采用高gps精度把握和量測用。它出具可獨立的編程序的打印模擬輸出條件,保障單一性,并具備軌到軌打印模擬輸出緩解器,可用高達到55 mA的直流電流值。該DAC經由SPI和MICROWIRE電源線接口對其進行wifi網絡通信,應采用wifi網絡光纖wifi網絡、分析儀器儀器、數劇收集、半自動的測試的設備和工業化半自動的化等研究方向。其共同點有高分數辨率、靈巧的電源線選擇、低積分查詢非波形確定誤差和平均溫度保持穩定的依據價電流值直流電流值源。