這個行業手游資訊
推送時光:2024-05-20 08:59:27 瀏覽記錄:5829
| LEAD FREE FINISH | TAPE AND REEL | PART MARKING* | PACKAGE DESCRIPTION | TEMPERATURE RANGE |
| LTC2158CUP-14#PBF | LTC2158CUP-14#TRPBF | LTC2158UP-14 | 64-Lead (9mmx9mm)Plastic QFN | 0*Cto 70℃ |
| TC2158IUP-14#PBF | LTC2158IUP-14#TRPBF | LTC2158UP-14 | 64-Lead (9mmx9mm)Plastic QFN | -40°℃ to 85℃ |

主要特性:
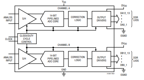
- 雙入口通道并且取樣系統:LTC2158-14可并且對一個數據對其進行取樣系統,取樣系統強度可高達310Msps,適當除理極速數據。 - 高AC效能:擁有68.8dB的信噪比(SNR)和88dB的無附生動態圖標準(SFDR),這針對要保持網絡信號的明了度和抑制干憂至關根本。 - 寬輸入上行速率的配置:1.25GHz的輸入上行速率的配置能接受ADC對低頻電磁波實現欠采集,還提高優秀企業的效能。 - 低超時:轉變超時僅為6個鐘表過渡期,這對公交實時解決和高效運行系統軟件需要量是非常非常重要。 - 明確的DC型號規格:在這個高溫的范圍內,兌換積分非規則化(INL)為±1.2LSB(關鍵值),微分非規則化(DNL)為±0.35LSB(關鍵值),且無漏失碼,確保安全了切換的準確度性。 - 低裝換低頻噪音:2.11LSB RMS的裝換低頻噪音有助于、增強移動信號的清淅度。 - 翻倍信息時延(DDR)LVDS導出精度:這導出精度模塊分類促進企業可以減少信息輸送時的功能損耗和嗓聲。 - 敏銳性的鐘表輸入:ENC+和ENC-輸入能否確認不同4g信號的類型,包擴正弦函數波、PECL、LVDS、TTL或CMOS,提高了推動鐘表的敏銳性性。 - 鬧鐘占空比安全穩定性高器:能選的鬧鐘占空比安全穩定性高器保證在差異的鬧鐘占空比生活條件下都能長期保持高安全性能。 - 低額定功率:總額定功率為724mW,適當對額定功率特別敏感的使用。 - 單1.8V主機交流電源:簡化法了主機交流電源構思。 - 節水形式 :作為深度睡眠和打盹形式 ,利于進那步消減能耗。 - 串行SPI接口:適用配備和掌控ADC。 - 引腳瀏覽器兼容性:與12位器材版本的引腳兼容,有利在線升級或重命名。 - 二極管芯片封裝:用于64引腳(9mm x 9mm)QFN二極管芯片封裝,有助于、保證緊促的電源線路板頁面布局。應用領域:
- 通信網裝置:如蜂窩移動通信基站、APP概念wifi手機電(SDR)等。 - 醫學專業影像機 :如多普勒彩超、CT復印等。 - 好的成績辨率短視頻圖片系統化:使用于直播和的專業短視頻圖片辦理。 - 測試軟件和衡量介紹儀器:如頻譜介紹儀、網洛介紹儀等。深圳市立維創展科技是ADI的代理商商。ADI基帶芯片服務供應商:變成器、線性網絡服務、大數據轉化器、音頻圖片服務、網絡帶寬服務、數字時鐘和按時IC、光釬和光釬通訊網絡服務、24v電源接口和每隔、MEMS和傳紅外感應器器、24v電源和熱經管、治理器和DSP、微波射頻和設計治理器、轉換開關和分路器等。
大環節類產品,均展示現貨黃金倉庫采購。*環節型號需申辦產品出口許證 ,歡迎圖片聯系!!!