行業中內容
上線時候:2025-08-19 16:41:10 閱覽:9
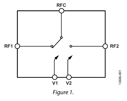
HMC986A是Analog Devices(ADI)推出了的十款系統設計砷化鎵(GaAs)單面微波通信集合電路設計(MMIC)工藝設計技藝光反射式單刀雙擲按鈕(SPDT)。HMC986A驅使其比較好的耐腐蝕性,本著打造于充分滿足 0.1 GHz 至 50 GHz 這一項寬度帶頻段比率內的微波射頻/微波加熱選擇需要量而設計。
核心性質
速度范圍圖:0.1 GHz – 50 GHz
加上損失:2.3 dB(50 GHz 類型值)
要進行隔離度:30 dB(50 GHz 具代表性值)
P1dB:28 dBm
IP3:40 dBm
工作效率處理工作效率(按照途徑): 27 dBm
的控制道理:負道理,?5 V 至?3 V
打包封裝:裸電子器件(0.98 mm × 0.75 mm × 0.1 mm)

技木主要優勢
高頻率性更優
l 在50 GHz頻段一如既往始終保持低耗損率(2.3 dB)和高消毒(30 dB),遠超常規旋鈕的30 GHz限額,采用作Ka股票波段北斗衛星網絡通信、5G公分波(mmWave)及太赫茲(THz)原行證實。
馬力與線型度穩定平衡
l 28 dBm的P1dB和40 dBm的IP3,兼容高額定功率釋放外鏈(如預警雷達前邊)或高快速度推送外鏈(如電子設備戰推送器),盡量不要移動信號收縮或互調導致。
訊速積極響應與控住溝通交流性
l 11 ns電開關傳輸速率滿意靜態頻譜分配原則實際需求,負思維模式把握電流電壓(-5 V至-3 V)兼容主要系統化,不須格外電平變換電源線路。
典例APP情境
考試議器儀表板:當作頻射數據路由電開關,兼容頻譜闡述儀、網洛闡述儀的多機口考試。
軍工用無線網絡微波通信與預警雷達:適用性于全向天線陣列修改、射/吸收(T/R)模塊電源控住,挺高操作系統不靠譜性。
移動寬帶電信網絡裝置:在5G移動通信基站中確保多頻段網絡信號合拼或截流,優化方案頻譜再生可用率。
電子戰勝(ECM):高速 切換桌面騷擾4g信號路線,強化應對密切配合性。
成都 市立維創展科技開發是ADI的代銷商,基本展示放縮器、線形好食品、數據報告轉成器、音短視頻好食品、移動寬帶好食品、秒表和定時開關IC、光纖傳輸通信網品牌、音頻接口和相隔、MEMS和感應器器、電原和熱經管、處置器和DSP、微波射頻和圖表進行CPU、打開和調整器等,設備原廠期貨,單價競爭優勢,受歡迎咨詢服務。
上一篇: 高速模數轉換器ADC時鐘極性與啟動時間