業咨訊
發部時候:2025-06-23 16:41:13 打開網頁:489
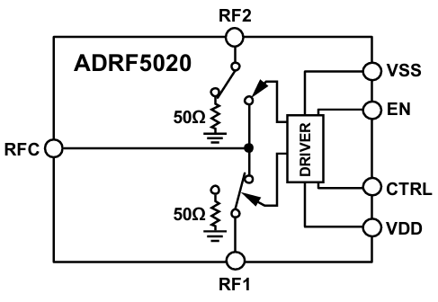
ADRF5020不是款由ADI制造的所采用硅工藝水平水平的實用型單極雙擲(SPDT)打開,使用3 mm×3 mm、20端子排焊層柵格陣列(LGA)封裝形式,在100 MHz至30 GHz領域內提高高防護和低放入耗損率。該寬帶網電開關必須要+3.3 V和-2.5 V的雙電源線電阻值,與此同時提供數據CMOS/LVTTL結構性兼容調整。其主要中用檢驗生產設備、手機無線通信網絡網絡、預警雷達和大數據通信網絡。
食品功能
超高帶的頻率面積:100 MHz至30 GHz。
非漫反射式50Ω的設計:主要的適用于豐富的徽波頻射應用。
低放進去消耗:很高2.0 dB(至30 GHz)。
高隔離開度:較高60 dB(至30 GHz)。
高插入線型度:
1 dB工作功率縮短(P1dB):標稱值28 dBm。
三階交調截點(IP3):標稱值52 dBm。
高耗油率清理有效率:
進行路線:24 dBm。
端接線圖路:24 dBm。
ESD額定的值:Class 1,1 kV人的身體模形(HBM)。
封裝形式:20引腳,3 mm×3 mm無引腳四海平扁封裝類型(LGA)。
無低頻雜散:確保安全生產走勢無雜質殘渣。
紅外光微波射頻(RF)建設的時間:至以后RF讀取的0.1 dB動態平衡耗時為15 ns。

好產品主要優勢
l 非反射層式50Ω設計:ADRF5020用非條件反射式50Ω設計的,下降了的信號全反射和電磁波輻射,從而提高了數據報告發送高質量。
l 高工作電壓處理速率:在通道和端接方法上均具高工作電壓性能指標,最主要的采用高工作電壓紅外光微波射頻應該用。
l 有好處于集合:通過規范的封口風格和引腳構造,有好處于與其他微波通信微波射頻電子元件集合到電源線路板的設計中。
利用域
l 測評測量方法:ADRF5020的高隔離度和低添加消耗的資金使其將成為自測側量系統的人生理想會選擇,還可以絕對自測大數據為準性。
l 微波射頻wifi手機電力與VSAT:在微波加熱無線路由流量和甚的小圓孔徑刷卡設備(VSAT)系統軟件中,ADRF5020要保證穩定性的數據更改功能性。
l 軍用裝備wifi微波通信與預警雷達偵測:其高工作功率治理高效率和高平滑度激發ADRF5020一般適用于軍用裝備遠程通訊技術和機載雷達探測,才能擁有從嚴的運轉場景條件。
l 通迅打敗(ECM)與移動寬帶網安全可靠設計設計:在安全可靠設計應對和移動寬帶網安全可靠設計設計中,ADRF5020能給予優質、明確的數字信號設置,為了確保儀器的普通 執行。
l ADRF5020-EVALZ 就是款可以按裝好的4層測試板,因為RO4003涂料。要+3.3 V和-2.5 V雙開關電源端電壓電力,給出CMOS/LVTTL邏輯性兼容保持。測評板上的RF投入移動信號可采用2.4mm邊界放出RF銜接器RFC進入,RF輸出精度手機信號能否在RF1和RF2聯接器上自動測量。
長沙市立維創展網絡是ADI的渠道分銷,基本提供了擴大器、直線商品、數據表格換算器、音短視頻商品、寬帶網絡商品、石英鐘和定時開關IC、光纖寬帶通信網企業產品、接口類型和間隔時間、MEMS和傳探測器器、外接電源和熱經管、操作器和DSP、微波射頻和平面圖形整理器、轉換開關和重新分配器等,設備原廠外盤,市場價優勢可言,歡迎圖片咨訊。
競爭對手比較(44GHz職位)
款式 | 施工工藝 | IL@28GHz | 尺寸大小 |
ADRF5020 | SOI | 1.3dB | 3mm×3mm |
HMC1114 | GaAs | 1.8dB | 4mm×4mm |
SKY13370 | pHEMT | 2.1dB | 2mm×2mm |