該行業資迅
發部耗時:2025-05-12 16:42:47 手機瀏覽:400
近些年半導體行業貿易市場廠家直銷焦慮不安的條件下,獲取是真的嗎trw供電傳感器帶替加入過程中師的緊迫要求。采取TI的TPSM82822、LMZ20502、LMZ30602、TPS84210及LTM8061等主機電源功能模塊代換工作方案,Cyntec做臺達同檔次公司,其電原控制模塊依據AEC-Q100車規認證服務,并出示國家區域區域的本地化化技術不支持,以保證重復使用措施的準確性和短期生產穩定可靠性。MUN3CAD02-JE以優良的效能、即插即用的兼容性問題及輕松的供應信息能力素質,稱為TI幾毫米電源線信息模塊的好使用采用預案。
叁數可比性
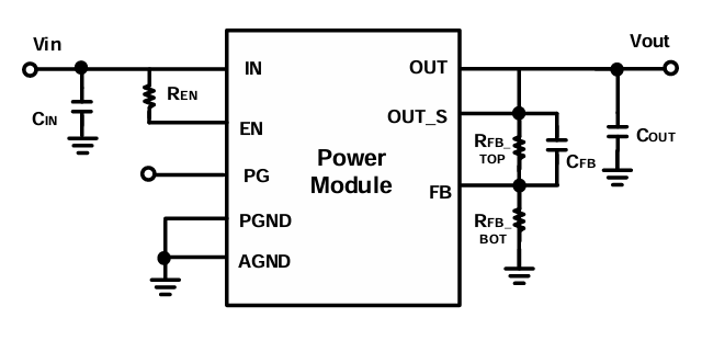
叁數 | MUN3CAD02-JE | TPSM82822 | LMZ20502 | LMZ30602 | TPS84210 | LTM8061 |
的輸出電流值 | 2A | 2A | 2A | 2A | 2A | 2A |
顯示電壓電流范圍之內 | 2.7V - 5.5V | 2.4V - 5.5V | 2.7V - 5.5V | 2.95V - 6V | 2.95V - 6V | 2.375V - 5.5V |
工作輸出端電壓標準 | 0.6V - 3.3V | 0.6V - 4V | 0.8V - 3.6V | 0.8V - 3.6V | 0.8V - 3.6V | 0.8V - 5.5V |
裝封尺寸圖 | 3.5mm×3.5mm×1.75mm | 2.0mm×2.5mm×1.1mm | 3.5mm×3.5mm×1.75mm | 9mm×11mm×2.8mm | 9mm×11mm×2.8mm | 3.2mm×3.2mm×1.22mm |
工作的濕度面積 | -40°C至+125°C | -40°C至+125°C | -40°C至+125°C | -40°C至+125°C | -40°C至+125°C | -40°C至+125°C |
打開速度 | - | 1.5MHz | 1.5MHz | 1.5MHz | 1.5MHz | 1.5MHz |
代用特色
1. 芯片封裝寸尺
l 與LMZ20502很大:MUN3CAD02-JE的封裝類型外形尺寸與LMZ20502相當,均為3.5mm×3.5mm×1.75mm,符合空間區域受限制的選用。
l 比LMZ30602和TPS84210小:MUN3CAD02-JE的封口尺寸規格顯著小于等于LMZ30602和TPS84210,這在發展空間出現異常的PCB結構設計中有的是個特殊的優勢與劣勢。
l 與LTM8061相同:MUN3CAD02-JE的封口圖片尺寸與LTM8061相同,但略大部分。只要對封口圖片尺寸有認真的標準,LTM8061也許 更好,但在各種穩定性叁數上,MUN3CAD02-JE概率富有優質。
2. 鍵入電壓值面積
l 與LMZ20502非常:MUN3CAD02-JE的鍵入額定電壓區域與LMZ20502想同,均為2.7V - 5.5V,實用在這樣的導入電壓值消費場景。
l 比LMZ30602和TPS84210略窄:MUN3CAD02-JE的輸入線電壓時間范圍略窄于LMZ30602和TPS84210,但卻仍然網絡覆蓋了常見的3.3V和5V插入電源適配器。
l 比LTM8061略寬:MUN3CAD02-JE的填寫直流電壓的范圍比LTM8061略寬,可適宜更廣泛應用的投入電流電壓比率。
3. 所在輸出功率超范圍
l 與LMZ20502和TPSM82822相對:MUN3CAD02-JE的輸入輸出相電壓面積與LMZ20502和TPSM82822非常非常接近,均鋪蓋了比較常見的低額定電壓應用軟件。
l 比LMZ30602和TPS84210略窄:MUN3CAD02-JE的工作輸出電壓電流的范圍略窄于LMZ30602和TPS84210,但還是還可以擁有很越多越低端電壓利用標準。
l 比LTM8061略窄:MUN3CAD02-JE的內容輸出電流電壓時間范圍比LTM8061略窄,但還在繼續履蓋了常用的0.6V至3.3V的模擬輸出直流電壓規模。

4. 工作上熱度面積
與所有的產品型號差不多:MUN3CAD02-JE的工作的熱度范圍圖與TPSM82822、LMZ20502、LMZ30602、TPS84210和LTM8061想同,均為-40°C至+125°C,可主要用在比較廣泛的化學工業和商業區適用。
5. 成本費與交貨
成本大幅度降低30%-50%,罷免全國知名品牌NRE成本費用,大批量回收時布局BOM成本投入可壓縮成15%上面。
收貨階段固定在4-6周,地方機型適配外盤現貨供應。
6. 特點與靠得住性
機械性能與耐用性:MUN3CAD02-JE在耐熱性和可靠的性各方面很有也許與給出參數特別,但在一些目標用中很有也許表面選擇。舉例,MUN3CAD02-JE將在那些特定的的負載電阻狀態下帶來更高的的效果或更低的紋波。
杭州市立維創展科枝許可經銷商Cyntec集體護膚品,致力于為消費者提拱高優質化量、優質化量、價委托公證的電源線模塊圖片護膚品。現在,立維創展存存大量量Cyntec電壓倉庫,假如具體型號:MUN12AD03-SEC,MUN3CAD03-SE等。設備原裝機trw,重量維持,為同中國內地國內銷售市場帶來水平可以支持,感謝在線咨詢。