業新聞
正式發布時間間隔:2024-11-27 17:02:53 觀看:653
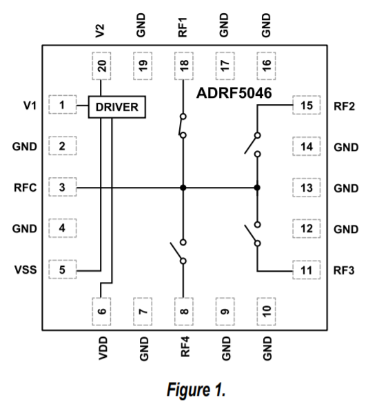
ADRF5046是種采用硅工藝技術做成的散射式單極四擲(SP4T)按鈕開關。頻次依據為100 MHz至44 GHz,讀取損耗量遠低于3.0 dB,隔離霜性強于31 dB。ADRF5046提供27dBm的微波射頻(RF)搜索電功率數據表格進行處理學習能力,最主要的中用RFC管腳的連通絕對路徑和全自動制袋機換。
ADRF5046在+3.3 V的正主機電源上費時3μa的低直流電,在-3.3 V的負外接電源上費時-110μa的電流量。ADRF5046打造同質性金屬材料脫色物半導體技術(CMOS)/舒張壓結晶管邏輯推理(LVTTL)兼容的的控制。
ADRF5046采用20接線柱端子排、3 mm×3 mm、達到RoHS規格的焊層柵格陣列(LGA)芯片封裝,就可以在-40°C至+105°C的環境溫度條件內的工作。

顯著特點
?超高頻繁率區間:100 MHz至44 GHz
?條件被反射的光設計制作
?放入耗損低
?1.5 dB至18 GHz
?2.5 dB至40 GHz
?3.0 dB至44 GHz
?高分隔
?46 dB至18 GHz
?33 dB至40 GHz
?31 dB至44 GHz
?輸入波形更高
?P0.1dB:27.5 dBm典型示范值
?IP3:50 dBm明顯值
?高rf射頻顯示電機功率補救
?直通式層面:27 dBm
?流延換(RFC):27 dBm
?無高頻雜散
?0.1 dB微波射頻焊接生產時光:50 ns
?20接線兩端接線鼻子,3mm×3mm,符合RoHS細則,LGA二極管封裝
應用領域
?工藝掃錨器
?各種測試系統
?蜂窩狀基礎條件措施公分波5G
?軍工概念股用無線網通信系統系統、雷達探測和通信系統系統戰勝設計(ECM)
?微波加熱遠程通信網絡和甚口子徑電子設備(VSAT)
珠海市立維創展科持是ADI的代銷商,主耍供給圖像電壓放大器、直線物品、數據源更換器、音頻視頻播放物品、寬帶網物品、秒表和隨機IC、光仟通信技術護膚品、usb接口和相隔、MEMS和感知器、電和熱經管、治療器和DSP、rf射頻和幾何圖形治療器、按鈕開關和分配比例器等。大有些成品,均供給期貨交易量購貨。