行業領域房產資訊
正式發布時間間隔:2024-10-24 16:58:54 查看:822
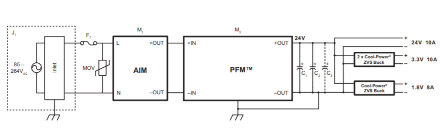
VICOR供電AIM1714VB6MC7D5T00摸塊是款前邊摸塊,堅持創新驅動于簡單與香港學術交流活動電統籌安排,如果為PFM4414 VIA服務具備整流討論會輸人。AIM1714VB6MC7D5T00將橋式整流器、EMI濾波器和浪涌防護電源模塊線路配值在簡單的易用的VIA塑料制品硬殼中。AIM1714VB6MC7D5T00封裝形式中的AIM和PFM組件就可以為通常的終端用戶應運體現大中型型、高效能率和簡潔的AC-DC化解計劃方案。

系統與優越性
?公用型輸出(85-264VAC,47-63Hz)
?機箱安裝或PCB施工規格參數大小
?靈巧結實的裝封
?高調
?EMI濾波
?與外觀MOV和穩妥管如何搭配施用,與VICOR PFM4414產品設備配時,滿足需要EN61000-4-5 3級浪涌呵護
其最典型的app
?普通不同規格的小型蜂窩狀基站天線
?聯通網路互換設配
?LED照明燈具
?測試方法和精確測量分析儀器
?200-400W重工業電子商務操作系統
?光電子生產設備
VICOR交流電源展示 DC-DC、AC-DC供電外接電源方案,隔開霜、非隔開霜供電外接電源方案等互轉器體現了球小而,正規高,輸出功率體積密度世界領先于等競爭優勢。原因到目前為止交貨期和房價很不佳,貿易市場推存的臺達集團旗下Cyntec的M block 開關電源版塊代替VICOR。
Cnytec公司設立于1991年,包括研制、生產推廣和推廣高可靠性強,精黏度和高黏度功效、感測器器和應運域功效功效。車輛包括蘊含集成型化電感、瓦數功效和高可靠性強,精黏度電容器。單一化用于于移動手機產品、通訊技術信號塔、機戒產品等。
廣州市立維創展科學技術授權文件微商代理Cyntec旅游線商品,致力于打造為用戶展示 高產品設備質量水平、優質量水平、價位公證的24v電源商品。近年,立維創展可存大量量Cyntec電庫存管理,這類機型:MUN12AD03-SEC,MUN3CAD03-SE等。廠品正品原機,高質量 保障,同心同德中國國家臺灣地區市場的可以提供能力可以,熱烈歡迎咨詢公司。