產業資迅
發布信息日期:2025-01-06 15:57:57 瀏覽訪問:693
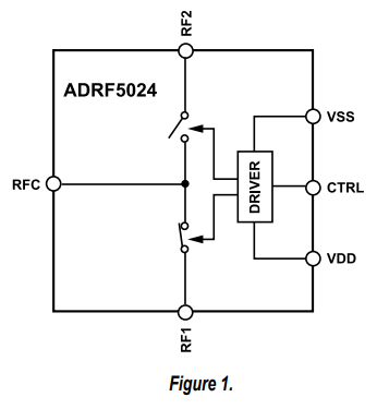
ADRF5024是種實用硅工藝設計技術性的反射強度式單極雙擲(SPDT)旋轉開關。頻繁範圍為100 MHz至44 GHz,復制消耗的資金遠超1.7 dB,隔開度為35 dB。ADRF5024配備27dBm的頻射(RF)特殊電機功率解決成功率,技術應用于直通車方式和殷切換。
ADRF5024在+3.3 V的正供電上耗損14μa的低電壓,在-3.3 V的負電源線上不足120μa的瞬時電流。ADRF5024安全使用同質式鋁合金脫色物半導體材料(CMOS)/低壓低結晶管對結晶管邏輯關系(LVTTL)兼容的超控。
ADRF5024與ADRF5025粉紅噪聲率截止日版本號管腳兼容,其頻帶寬度范疇為9 kHz至44 GHz。
ADRF5024微波射頻端口處經常用在支持50?的性電位差。對於加寬頻工作的,微波射頻大數據線上教育的識別電阻器也可以進一歩全面中頻點加上不足和回波不足性。
ADRF5024動用2.25 mm×2.25 mm、12端子排、需求RoHS原則化的焊層柵格陣列(LGA)封裝,要在-40°C至+105°C相互間工作的。

顯著特點
?寬度不斷率比率:100 MHz至44 GHz
?漫光線結構設計
?識別阻值的低添加圖片損耗量
?18 GHz的標稱數值1.0 dB
?40 GHz的標稱臨界值1.4 dB
?44 GHz的標稱數值1.7 dB
?無輸入熱敏電阻的低復制消耗
?18 GHz的標稱數值0.9 dB
?40 GHz的標稱值一般選擇1.7 dB
?44 GHz的標稱參考值2.1 dB
?輸進平滑更高
?P1dB:27.5 dBm標稱值
?IP3:50 dBm標稱值
?高頻射額定馬力馬力治療
?直達的線路:27 dBm
?流延換:27 dBm
?無底頻率雜散
?rf射頻手工焊接耗時(從50%VCTRL到第三rf射頻輸出0.1 dB):17 ns
?12接線端子,2.25 mm×2.25 mmLGA封裝類型
?管腳與ADRF5025高頻率終止版本號兼容
應用
?化學工業掃描器器
?測驗和工做
?蜂窩狀基礎上措施基本建設:5Gmm毫米波
?民品用無線網絡網絡通訊、聲納觀測、網絡通訊對峙的工作(ECM)
?微波加熱手機無線網絡通信和甚口子徑POS機(VSAT)
廣州 市立維創展科技開發是ADI \ Linear 的地區經銷商,以地區選擇分銷模式庫存積壓現貨交易ADI \ Linear為類產品好處,可給予單天發快遞售后服務,熱情接待咨詢了解。。
上一篇: 高速模數轉換器ADC時鐘極性與啟動時間
下一篇: ?QorIQ?T1042多核處理器